Гидравлическая система для фронтального погрузчика LW700KN
Артикул: 253303569
Подходит для фронтального погрузчика LW700KN
Запчасти гидравлической системы для фронтального погрузчика LW700KN
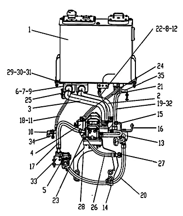
Схема 1
| Номер на схеме | Артикул | Наименование товара | Примечание |
| 1 | 253303667 | Масляный бак | |
| 2 | 253303682 | Насос рулевого управления | |
| 3 | 253303665 | Комплект тандемного насоса | |
| 4 | 253303663 | Комплект клапана управления давлением | |
| 5 | 253303675 | Комплект клапана разгрузки | |
| 6 | 253303653 | Стальная труба для всасывания масла | |
| 7 | 805047991 | Болт M16X110 | GB/T16674.1-2004 |
| 8 | 803103340 | Фитинг | |
| 9 | 803401145 | O-образное кольцо 85.32×3.53 | |
| 10 | 253304084 | Комплект опорной пластины | |
| 11 | 803104915 | Фитинг | |
| 12 | 803100741 | Фитинг | |
| 13 | 253303649 | Гибкий трубопровод для возврата масла | |
| 14 | 253303655 | Хомут для труб | |
| 15 | 253303676 | Опорная пластина | |
| 16 | 253403569 | Опорная пластина | |
| 17 | 803411872 | Шланг | |
| 18 | 803428377 | Шланг | |
| 19 | 803426328 | Шланг | |
| 20 | 803424775 | Шланг | |
| 21 | 803432509 | Шланг | |
| 22 | 803424815 | Шланг | |
| 23 | 252911080 | Фланец | |
| 24 | 252911076 | Фланец | |
| 25 | 253303670 | Опорная пластина | |
| 26 | 803424813 | Шланг | |
| 27 | 252911069 | Фланец | |
| 28 | 253303836 | Комплект опоры | |
| 29 | 805338273 | Шайба 16 | GB/T96.1-2002 |
| 30 | 805048471 | Болт M16×60 | GB/T16674.1-2004 |
| 31 | 805200212 | Гайка M16 | GB/T6177.1-2000 |
| 32 | 803103798 | Фитинг | |
| 33 | 253304290 | Опорная пластина | |
| 34 | 819963351 | Метка сливного отверстия гидравлического масла | |
| 35 | 253304815 | Хомут для труб |
Артикул: 253302333
Запчасти гидравлической системы для фронтального погрузчика LW700KN
Схема 2
| Номер на схеме | Артикул | Наименование товара | Примечание |
| 1 | 803087172 | Гидроцилиндр для кузова | |
| 2 | 253302617 | Защитная панель | |
| 3 | 805048006 | Болт M10×30 | GB/T16674.1-2004 |
| 4 | 803164323 | Фланец | |
| 5 | 253103949 | Опора | |
| 6 | 805048005 | Болт M10×16 10.9 | GB/T16674.1-2004 |
| 7 | 253301710 | Стальная труба | |
| 8 | 252911069 | Фланец | |
| 9 | 253301699 | Стальная труба | |
| 10 | 803103961 | Заглушка | |
| 11 | 805048007 | Болт M10x35 | GB/T16674.1-2004 |
| 12 | 803401130 | O-образзное кольцо 37.69×3.53 | 222N552-90 |
| 13 | 803081518 | Масляная труба для правого рычага | |
| 14 | 803081517 | Гидроцилиндр для левого рычага | |
| 15 | 803437517 | Шланг | |
| 16 | 803437521 | Шланг | |
| 17 | 253302049 | Опорная пластина | |
| 18 | 253302001 | Опорная пластина левая | |
| 19 | 253302372 | Труба | |
| 20 | 803437518 | Шланг | |
| 21 | 803437520 | Шланг | |
| 22 | 252909531 | Комплект крепления трубы для рычага | |
| 23 | 253301701 | Стальная труба | |
| 24 | 253301702 | Стальная труба | |
| 25 | 803 401 127 | O-образное кольцо 32.92×3.53 | 219N552-90 |
| 26 | 803437520 | Шланг | |
| 27 | 803437518 | Шланг | |
| 28 | 253302373 | Трубка | |
| 29 | 252911080 | Фланец |
Гидравлическая система для фронтального погрузчика LW700KN – это сердце машины, отвечающее за движение и работу всех рабочих органов. Она обеспечивает подъем, опускание, поворот ковша, управление рулевым управлением. Благодаря использованию гидравлики, погрузчик может выполнять широкий спектр задач с высокой скоростью и эффективностью. Гидравлическая система отличается высокой надежностью и долговечностью, что снижает затраты на обслуживание и ремонт.
Если вы самостоятельно не нашли нужную запчасть, свяжитесь с менеджером, — найдем, предложим лучшие условия и доставим в нужные сроки (Отправить запрос).
Внимание, в связи с нестабильностью курса рубля, актуальную цену на товар и наличие товара на складе узнавайте у наших менеджеров.
Подробнее









Отзывы
Отзывов пока нет.